Sun Microsystems, Inc.
spacer spacer
spacer   Sun System Handbook Home | Systems | Components | General Info | Search | Feedback 
spacer
black dot
 
black fade
 

Sun-4/390/490

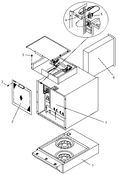
SCSI Peripheral Trays

CODE PART # DESCRIPTION

1
2
3
4
5
6
540-1865
340-2000
530-1474
240-1202
530-1507
340-1832
340-1999
SCSI Tray, Versions 1 and 2 (Shipped before 4/90)
SCSI Tray
SCSI Bus Cable, 73 cm, Internal
#6-32 x 5/8" Peripheral Mounting Screw
SCSI Power Cable, Internal
SCSI Tray Top Cover
Peripheral Cover Plate

7
8
9
NS
10
11
11
12
13
14
15
16
540-1865
340-2143
530-1642
530-1641
530-1638
340-2145
340-2146
340-2305
240-1372
340-2148
240-0258
340-2144
240-0646
SCSI Tray, Version 3 (Shipped after 4/90)
SCSI Tray
SCSI Bus Cable, 180 cm
SCSI Power Cable, Internal
DC Power "Y" Cable, 15 cm
Front Plate
Full-Height Peripheral Blank Plate
Half-Height Peripheral Blank Plate
M4 0.7 x 10 mm Screw
Peripheral Mounting Bracket
#6-32 x 3/8" Peripheral Mounting Screw
SCSI Tray Top Cover
Cable Clamp
NS 370-1205 150MB Tape Drive, Half-Height, QIC-150
NS 370-1206 150MB Tape Drive, Full-Height, QIC-150
NS 370-1297 2.3GB 8 mm Tape Drive, Full-Height
NS 370-1347 644MB CD-ROM, Half-Height
NS 530-1381 External Terminator, 50-Pin DD-50SA
NS 530-1435 Ext Cable, 50-Pin SCSI-2 to DD-50SA, 2.0M (obs)
NS 530-1593 Ext Cable, 50-Pin SCSI-2 to DD-50SA, 1.0M (obs)
NS 530-1508 Ext Cable, 50-Pin SCSI-2 to SCSI-2, 80 cm (obs)
NS 530-1501 External Cable, 50-Pin SCSI-2 to Centronics, 2.0M
NS 530-1502 External Cable, Centronics to Centronics, 1.5
NS 530-1568 External Cable, 50-Pin SCSI-2 to Centronics, 4.0M
NS 530-1792 External Cable, 50-Pin SCSI-2 to DD-50SA, 2.0M
NS 530-1793 External Cable, 50-Pin SCSI-2 to SCSI-2, 80 cm
NS 530-1829 External Cable, 50-Pin SCSI-2 to DD-50SA, 1.0M
NS 530-1842 Grounding Cable, CD-ROM, 12.7 cm

16-Slot VMEbus Logic Enclosure

CODE PART # DESCRIPTION
1 540-1719
540-1840
530-1560
530-1561
150-1393
240-1614
Blower Assembly, 2 Blowers
Centrifugal Fan Assembly
Cable, 32.5 cm, Fan to Terminal
Cable, 86.5 cm, AC Input to Terminal
Capacitor
Terminal Block
2 340-1833 Front RFI Shield
3 240-1372 M4 0.7 x 10 mm Screw
4 150-1397 Indicator LED
5 530-1506 Indicator LED Cable
6 300-1065 1200 Watt Power Supply
6 300-1047 925 Watt Power Supply (obsolete)
7 501-1498 16-slot Backplane, Pressfit (obsolete)
7 501-1597 16-slot Backplane, Pressfit
NS 540-1869 Load Resistor Assembly (obsolete) 1
NS 180-1189 Power Cord (230V)
NS 180-1190 Power Cord (240V)
NS 230-0203 Cable Tie, 4"
NS 240-0146 Cable Clamp
NS 260-3618 SPARCserver 390 Logo
NS 260-3619 SPARCserver 490 Logo
NS 530-1534 SCSI Power Cable

800-3265 Sun 16-Slot Logic Enclosure Field Service Manual

800-3259 56-Inch Data Center Cabinet Service Manual
  1. The Load Resistor Assembly is only required with the 925 Watt Power Supply.

56-inch Data Center Cabinet

CODE PART # DESCRIPTION
1 340-1884 Anti-Tilt Panel
2 540-1857 Vented Panel Assembly
3 540-1858 Upper Panel Assembly, 1/2" and 1/4" Tape, Hinged
4 240-1630 #6-32 Ballstud
5 340-1840 Top Panel
6 340-1885 Side Restraint Bracket, Upper
7 240-1372 M4 0.7 x 10 mm Sem Screw
8 540-1718 Frame Assembly
9 540-2393 Keyswitch Assembly (replaced 540-1285)
10 340-1881 Hinge Bracket
11 340-1848 Side Panel
12 340-1886 Side Restraint Bracket, Lower
13 240-1717 Caster (replaced 370-1210)
14 240-1373 M4 0.7 Kepnut
15 230-1418 Leveler Foot (replaced 230-1181)
16 370-1155 230V Power Sequencer (obsolete)
16 370-1156 240V Power Sequencer (obsolete)
16 300-1263 230V Power Sequencer
16 300-1264 240V Power Sequencer
17 240-1655 #10-32 x 3/4" Screw
18 340-1845 Rear Panel
19 340-2047 Kick Panel
NS 230-1166 Cable Tie 5.5", Reusable
NS 230-1170 Cable Tie 10", Reusable
NS 230-1177 Snap In Clip
NS 240-1738 3/8 x 16 x 4.0 Bolt
NS 240-1739 3/8" x 16 x 7.0 Bolt
NS 240-1748 3/8" x 16 x 4.0 Bolt
NS 340-1835 16-slot Chassis Support Rail, Left
NS 340-1913 Filler Panel, 5.2" x 19"
NS 340-2057 16-slot Chassis Support Rail, Right
NS 340-2138 Ballast, 30 lbs
NS 530-1303 Remote Keyswitch Cable
NS 800-3259 56-inch Data Center Cabinet Service Manual


Last updated: December 2, 1996
WebToneWebToneWebToneWebTone
 Copyright 1994-2003 Sun Microsystems, Inc.,  901 San Antonio Road, Palo Alto, CA 94303 USA.  All rights reserved.
 Legal Terms Privacy Policy Feedback