Sun Microsystems, Inc.
spacer spacer
spacer   Sun System Handbook Home | Systems | Components | General Info | Search | Feedback 
spacer
black dot
 
black fade
 

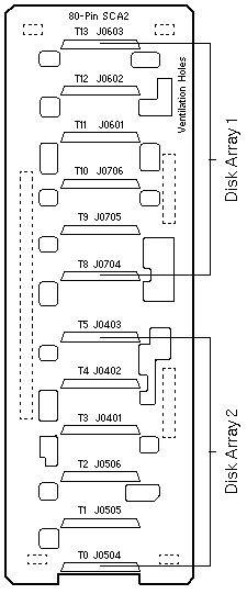
12-Slot SCSI Disk Backplane

StorEdge A1000 / StorEdge D1000

501-4440

Front View
    Rear View

StorEdge D1000 Controller Address Settings

SWITCH DIP SETTING DESCRIPTION
SW1 1 Up
Down
Array 1 drive addresses 8-13 (default)
Array 1 drive addresses 0-5
SW1 2 Up
Down
Array 2 drive addresses 8-13
Array 2 drive addresses 0-5 (default)

WebToneWebToneWebToneWebTone
 Copyright 1994-2003 Sun Microsystems, Inc.,  901 San Antonio Road, Palo Alto, CA 94303 USA.  All rights reserved.
 Legal Terms Privacy Policy Feedback